概述
是一种泵保护装置。它自动对离心泵(尤其输送热水介质)在低负荷运行时泵体内可能出现的部分气蚀损害和不稳定进行保护。一旦泵流量低于预设流量,旁路完全打开以确保泵所需最小流量。即使主路完全关闭,即主路流量为零,最小流量也可以通过旁路进行自动循环。压力通过旁路中的集成多级节流减压阀降低。HD系列有适合高压差的旁路,压差最大至30MPa,具体选择由工厂确定。多级涡流结构的旁通可消除高速流动介质产生的噪音,防止气蚀和闪蒸对阀门元件的破坏。
特点
· 防气蚀多级减压旁路,降低流速,适用于高压工况
· 锻造阀体,可选用碳钢或不锈钢材质等
· 最大工作压差至30MPa
· 压力等级PN16-PN420,口径DN25-DN500
· 可选择增加手动旁路操作功能,以备故障时使用
尺寸压力范围:
阀体类型 | 三通锻造泵保护阀 |
公称通径 | DN50-DN250 |
公称压力 | PN40-PN420 |
连接方式 | 法兰,焊接 |
材质 | A105+304 |
型号编制:
阀门形式 | 公称通径 | 公称压力 | 阀体材质 | 结构形式 | 旁路口径 | 阀体材质 |
HD=多级涡流 HF=多级孔板 | DN25-05 DN32=06 DN40=07 DN50=08 DN65=09 DN80=10 DN100=11 DN125=12 DN150=13 DN175=14 DN200=15 DN225=16 DN300=18 | PN16=01 PN25=02 PN40=03 PN63=04 PN100=05 PN160=06 PN200=07 PN260=08 PN320=09 PN420=10 | N=内螺纹 W=外螺纹 F=法兰 H=焊接 | V=垂直安装 H=水平安装 | DN25=1 DN32=2 DN40=3 DN50=4 DN65=7 DN80=6 DN100=7 | C=A105 I=15CrMO/Wb36 P=304/316 默认A105不标注 |
例如:HD1407FV3.阀门为多级涡流形式,口径DN175,压力PN200,法兰连接,垂直安装,旁路口径DN40,阀体材质为碳钢A105 |
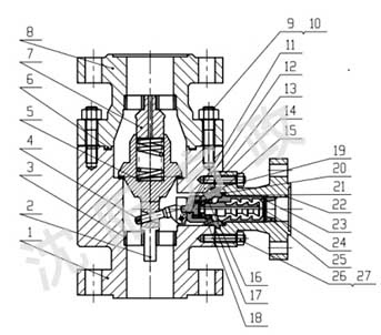
总装图

零件与尺寸
序号 |               名 称
| 材 料 | 序号 |               名 称
| 材 料 |
|
|
1 | 阀体 | A105 | 15 | 阀芯螺母 | 2Cr13 |
2 | 直通阀芯 | 2Cr13 | 16 | 阀芯套 | 2Cr13 |
3 | 导向环 | 2Cr13 | 17 | O形圈 | 氟橡胶 |
4 | 转动顶杆 | 2Cr13 | 18 | O形圈 | 氟橡胶 |
5 | 弹簧 | 60Si2MnA | 19 | 圆柱销 | 45 |
6 | 金属缠绕垫 | 304+石墨 | 20 | O形圈 | 氟橡胶 |
7 | 导向套 | 2Cr13 | 21 | O形圈 | 氟橡胶 |
8 | 阀盖 | A105 | 22 | 旁路阀体 | A105 |
9 | 螺母 | 8级 | 23 | 旁路阀座 | 2Cr13 |
10 | 螺栓 | 8.8级 | 24 | 旁路阀芯 | 2Cr13 |
11 | 圆柱销 | 304 | 25 | 节流孔板 | 2Cr13 |
12 | 阀芯顶块 | 2Cr13 | 26 | 螺母 | 8.8级 |
13 | O形圈 | 氟橡胶 | 27 | 双头螺栓 | 8级 |
14 | 阀笼盖 | 2Cr13 |
|
|
|
由于产品改进和技术创新或者一些特殊要求,各种阀门的连接尺寸可能会有所变化,请联系方政阀门技术部门,以得到最新的产品资料。我们也可按照您的要求定做尺寸的阀门。